LR patents Nr. 13857 “Digitālu rentgena attēlu analizators svešķermeņu atklāšanai objektos reālā laika režīmā”. Izgudrotāji: I.Mednieks, A.Skaģeris. Īpašnieks: Elektronikas un datorzinātņu institūts. Publicēts 20.03.2009.
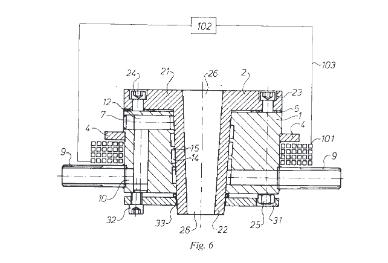
1. Bronzas nepārtrauktās liešanas elektromagnētiskais kristalizators, kas atšķirīgs ar to, ka korpusa (1) centrālajā atverē caur tā izeju (22) ir ievietots konusveida ieliktnis (2), starp ieliktņa (2) cilindrisko izeju (21) un korpusa (1) augšējo virsmu ir ievietots korķis (5), korpuss (1) un ieliktnis (2) ir savienoti ar skrūvēm (24) un uzgriežņiem (25), pie kam uz korpusa (1) apakšējās daļas caur “O” veida gredzenu (6) ir uzstādīts vāciņš (3) un piestiprināts ar skrūvēm (32), korpusa (1) ejā (41) ir ievietots gredzens (4) un piestiprināts korpusam (1), turklāt caurumos (8) ir uzstādīti savienojumi (9) un piemetināti korpusam (1).
2. Bronzas nepārtrauktās liešanas elektromagnētiskais kristalizators saskaņā ar 1.punktu, kas atšķirīgs ar to, ka starp savienojumiem (9) un gredzenu (4) ir izvietoti daudzi induktora (101) vijumi, kuri caur vadītājiem (103) ir savienoti ar invertoru (102).
3. Bronzas nepārtrauktās liešanas elektromagnētiskais kristalizators saskaņā ar 1.punktu, kas atšķirīgs ar to, ka šķērsprofilu diametri D2 un D1 atrodas aptuvenā attiecībā D2:D1 = 1:(3,9 līdz 1,77), šķērsprofilu diametri D4 un D3 atrodas aptuvenā attiecībā D4:D3 = 1:(1,684 līdz 1,262), bet garumi L2 un L1 garums atrodas aptuvenā attiecībā L2:L1 = 1:(1,208 līdz 1,16).
4. Bronzas nepārtrauktās liešanas elektromagnētiskais kristalizators saskaņā ar 1.punktu, kas atšķirīgs ar to, ka korpusa (1) centrālajā atverē ir izveidotas spirālveidā izkārtotas ribas (15), kuras savā starpā veido spirālveida kanālus (14), un ar to, ka korpusā (1) izveidoti caurumi (8, 10, 11, 12, 13), pie kam caurumi (11, 12) ir noslēgti ar necaurejošu korķi (7), kas piemetināts korpusam (1).
5. Bronzas nepārtrauktās liešanas elektromagnētiskais kristalizators saskaņā ar 1. punktu, kas atšķirīgs ar to, ka konusveida ieliktnī (2) ir izveidota centrālā konusveida atvere (26), bet cilindriskajā izejā (21) ir izveidotas daudzas atveres (23).
6. Bronzas nepārtrauktās liešanas elektromagnētiskais kristalizators saskaņā ar 1.punktu, kas atšķirīgs ar to, ka apakšējā vāciņā (3) ir izveidota centrālā atvere (33), kā arī liels skaits apļveida atveru (31) un liels skaits apļveida atveru (34).
